氣動放料閥產品概述
氣動放料閥是一種由氣動執行機構、行程開關、二位三通電磁閥和放料閥組件等組成,其驅動形式為氣缸活塞直行程控制,根據選配不同的附件可以實現開關、調節等功能。該閥根據罐內安裝的攪拌器類型,分為上展式和下展式兩種典型結構形式,它利用閥門上氣動執行器的優點,可遠距離控制閥門,使工人遠離出料口,實現半自動或全自動操作。本產品特適用于需高空作業或對人體有害物料的排放。
氣動放料閥是利用有壓氣體作為動力源,推動活塞在氣缸內進行直線往復運動,再配備電磁閥和行程開關等限位控制機構,從而使氣動執行機構輸出軸驅動閥桿帶動閥瓣做上升和下降動作轉換,以實現閥門的自動開啟和關閉。本產品安裝和使用方便,易修理,不受氣溫變化的影響,又可以遠程控制閥門,因此特適合安裝在不適于人工手動作業的儲料罐、反應釜及其他容器的底部作放料、排料及取樣用。
氣動放料閥部件材料
序號 | 部件名稱 | 材料名稱 | ||||
1 | 閥 體 | WCB | CF8 | CF3 | CF8M | CF3M |
2 | 支 架 | WCB | CF8 | CF3 | CF8M | CF3M |
3 | 閥 座 | WCB | CF8 | CF3 | CF8M | CF3M |
4 | 閥 瓣 | WCB | CF8 | CF3 | CF8M | CF3M |
5 | 閥 桿 | 2Cr13 | 06Cr19Ni10 | 022Cr19Ni10 | 06Cr17Ni12Mo2 | 022Cr17Ni12Mo2 |
6 | 填 料 | GRAPHITE、RPTFE、PTFE、TEFLON、PPL | ||||
7 | 填料壓蓋 | WCB | CF8 | CF8 | CF8M | CF8M |
8 | 墊 片 | GRAPHITE | PTFE | PTFE | PTFE | PTFE |
9 | 螺 柱 | 35CrMoA | 06Cr19Ni10 | 06Cr19Ni10 | 06Cr17Ni12Mo2 | 06Cr17Ni12Mo2 |
10 | 螺 母 | 30CrMo | 06Cr19Ni10 | 06Cr19Ni10 | 06Cr17Ni12Mo2 | 06Cr17Ni12Mo2 |
11 | 氣動裝置 | 組合件 | 組合件 | 組合件 | 組合件 | 組合件 |
氣動放料閥技術規范
公稱壓力PN(MPa) | 0.6 | 1.0 | 1.6 | 2.5 | 2.0 |
殼體強度試驗壓力(MPa) | 0.9 | 1.5 | 2.4 | 3.75 | 3.0 |
高壓水密封試驗壓力(MPa) | 0.66 | 1.1 | 1.76 | 2.75 | 2.2 |
低壓氣密封試驗壓力(MPa) | 0.6 | 0.6 | 0.6 | 0.6 | 0.6 |
設計制造 | JB/T 11489-2013 放料用截止閥 | ||||
法蘭標準 | JB/T 79、GB/T 9113、HG/T 20592、HG/T 20615、SH/T 3406、ASME B16.5等 | ||||
檢驗試驗 | JB/T 11489-2013 放料用截止閥 | ||||
工作溫度 | -60℃ ~ 232℃ | ||||
氣動放料閥外型尺寸
公稱壓力 PN(MPa) | 公稱通徑 DN(mm) | 上展式尺寸(mm) | 下展式尺寸(mm) | ||||||||||
D1 | D2 | D3 | D4 | D5 | D6 | D1 | D2 | D3 | D4 | D5 | D6 | ||
1.6 | 25 | 115 | 85 | 115 | 85 | — | — | 115 | 85 | 135 | 100 | 70 | 40 |
32 | 135 | 100 | 135 | 100 | 70 | 40 | 135 | 100 | 145 | 110 | 75 | 55 | |
40 | 145 | 110 | 145 | 110 | 70 | 50 | 145 | 110 | 160 | 125 | 80 | 60 | |
50 | 165 | 125 | 160 | 125 | 80 | 60 | 160 | 125 | 180 | 145 | 100 | 80 | |
65 | 180 | 145 | 180 | 145 | 95 | 75 | 180 | 145 | 195 | 160 | 135 | 110 | |
80 | 195 | 160 | 195 | 160 | 110 | 90 | 195 | 160 | 225 | 190 | 160 | 135 | |
100 | 215 | 180 | 215 | 180 | 130 | 110 | 215 | 180 | 260 | 225 | 200 | 175 | |
125 | 245 | 210 | 245 | 210 | 160 | 130 | 245 | 210 | 280 | 245 | 200 | 175 | |
150 | 280 | 240 | 280 | 240 | 190 | 150 | 280 | 240 | 335 | 295 | 240 | 210 | |
200 | 335 | 295 | 335 | 295 | 240 | 200 | 335 | 295 | 405 | 355 | 285 | 240 | |
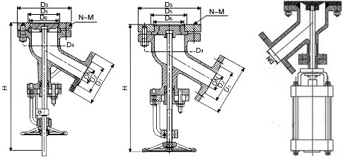
氣動放料閥結構圖

本產品按結構型式的不同分為氣動上展式放料閥、氣動下展式放料閥和氣動放料球閥等。如果你需訂購我廠放料閥,咨詢時煩請說明公稱尺寸、公稱壓力、閥體和內件材質、使用介質、工作溫度、端部連接方式、氣動類型及附件要求等。
網站首頁