不銹鋼放料閥產品介紹
不銹鋼放料閥是一種閥體、閥桿、閥瓣和閥座等主體部件由CF8、CF3、CF8M、CF3M、317L、310S等鑄件及它們相對應的鍛件毛坯制造而成,適用于一般性腐蝕介質或高溫物料儲罐及其他容器的底部排料及取樣用閥門,其閥體入口與罐底的連接結構可采用法蘭型或管接型,它通過手動、氣動或電動驅動閥桿帶動閥瓣上升或下移來控制閥門的啟閉,從而實現物料從設置在閥體下部的出料口流通和截斷動作的轉換。該閥整體采用不銹鋼材料制造,特適合于儲槽和化工、石油化工裝置的反應釜之放料及取樣,除去了工藝介質通常在容器出口的殘留現象。本產品典型結構型式有上展式和下展式兩種,上展式放料閥適用于帶有漿式、渦輪式或推進式攪拌器的的反應釜,而下展式放料閥則主要配裝于帶有漿式、渦輪式或推進式攪拌器的反應釜。
不銹鋼放料閥部件材料
序號 | 部件名稱 | 材料名稱 | ||||
1 | 閥 體 | CF8 | CF3 | CF8M | CF3M | 310S |
2 | 閥 蓋 | CF8 | CF3 | CF8M | CF3M | 310S |
3 | 閥 座 | CF8 | CF3 | CF8M | CF3M | 310S |
4 | 閥 瓣 | CF8 | CF3 | CF8M | CF3M | 310S |
5 | 填 料 | PTFE | PTFE | PTFE | PTFE | GRAPHITE |
6 | 閥 桿 | 06Cr19Ni10 | 022Cr19Ni10 | 06Cr17Ni12Mo2 | 022Cr17Ni12Mo2 | 06Cr25Ni20 |
7 | 墊 片 | PTFE | PTFE | PTFE | PTFE | GRAPHITE |
8 | 螺 柱 | 06Cr19Ni10 | 06Cr19Ni10 | 06Cr17Ni12Mo2 | 06Cr17Ni12Mo2 | 06Cr19Ni10 |
9 | 螺 母 | 06Cr19Ni10 | 06Cr19Ni10 | 06Cr17Ni12Mo2 | 06Cr17Ni12Mo2 | 06Cr19Ni10 |
不銹鋼放料閥技術規范
公稱壓力PN(MPa) | 0.6 | 1.0 | 1.6 | 2.5 | 2.0 |
殼體強度試驗壓力(MPa) | 0.9 | 1.5 | 2.4 | 3.75 | 3.0 |
高壓水密封試驗壓力(MPa) | 0.66 | 1.1 | 1.76 | 2.75 | 2.2 |
低壓氣密封試驗壓力(MPa) | 0.6 | 0.6 | 0.6 | 0.6 | 0.6 |
設計制造 | JB/T 11489-2013 放料用截止閥 | ||||
法蘭標準 | JB/T 79、GB/T 9113、HG/T 20592、HG/T 20615、SH/T 3406、ASME B16.5等 | ||||
檢驗試驗 | JB/T 11489-2013 放料用截止閥 | ||||
適用溫度 | -60℃ ~ 650℃ | ||||
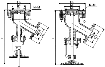
不銹鋼放料閥外型尺寸
公稱壓力 PN(MPa) | 公稱通徑 DN(mm) | 上展式尺寸(mm) | 下展式尺寸(mm) | ||||||||||
D1 | D2 | D3 | D4 | D5 | D6 | D1 | D2 | D3 | D4 | D5 | D6 | ||
1.6 | 25 | 115 | 85 | 115 | 85 | — | — | 115 | 85 | 135 | 100 | 70 | 40 |
32 | 135 | 100 | 135 | 100 | 70 | 40 | 135 | 100 | 145 | 110 | 75 | 55 | |
40 | 145 | 110 | 145 | 110 | 70 | 50 | 145 | 110 | 160 | 125 | 80 | 60 | |
50 | 160 | 125 | 160 | 125 | 80 | 60 | 160 | 125 | 180 | 145 | 100 | 80 | |
65 | 180 | 145 | 180 | 145 | 95 | 75 | 180 | 145 | 195 | 160 | 135 | 110 | |
80 | 195 | 160 | 195 | 160 | 110 | 90 | 195 | 160 | 215 | 190 | 160 | 135 | |
100 | 215 | 180 | 215 | 180 | 130 | 110 | 215 | 180 | 245 | 225 | 200 | 175 | |
125 | 245 | 210 | 245 | 210 | 160 | 130 | 245 | 210 | 280 | 245 | 200 | 175 | |
150 | 280 | 240 | 280 | 240 | 190 | 150 | 280 | 240 | 335 | 295 | 240 | 210 | |
200 | 335 | 295 | 335 | 295 | 240 | 200 | 335 | 295 | 405 | 355 | 285 | 240 | |
不銹鋼放料閥結構圖

如果你需訂購我廠放料閥產品,咨詢時煩請說明結構型式、公稱通徑、公稱壓力、閥體和內件材質、使用介質、工作溫度、驅動形式、連接方式,如采用法蘭連接,請注明法蘭標準及端面形式等。
網站首頁