為了避免因管道交變溫度應力對球閥密封的影響,普遍采用上裝式固定球閥。上裝式固定球閥有外置調節棒上裝式固定球閥和內置調節棒上裝式固定球閥及螺紋閥座上裝式固定球閥、螺紋導向套結構波紋管密封上裝式固定球閥四種。
一、外置調節棒上裝式固定球閥
外置調節棒上裝式固定球閥(圖1)閥座設有2~4個外置水平方向的調節棒,通過調節閥座的位移實現閥門的裝配。該結構增加了閥門的外泄漏點,使閥門存在潛在的外泄漏風險。

圖1 外置調節棒上裝式固定球閥
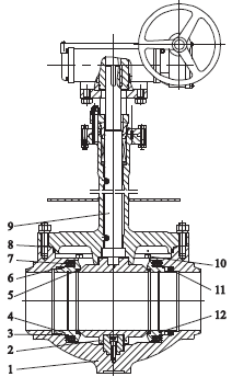
二、內置調節棒上裝式固定球閥
內置調節棒上裝式固定球閥(圖2)的每個閥座靠2個內置垂直方向的調節棒調節閥座位移,實現閥門的裝配,這種結構減少了閥門潛在的外泄漏點。由于受結構長度及調節棒尺寸、材料等因素的影響,該種結構只能適用于小口徑(≤NPS6)上裝式球閥。

1.閥體 2.球體 3.防火圈 4.SPE閥座 5.密封圈 6、11.Lip-seal密封圈
7.彈簧 8.墊片 9.閥桿 10.調節棒 12.DPE閥座
圖2 內置調節棒上裝式固定球球閥
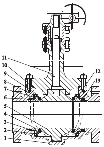
三、螺紋閥座上裝式固定球閥
螺紋閥座上裝式固定球球閥(圖3)的閥座前端有徑向螺紋,通過螺紋調節圈旋合調節閥座位移,實現閥門的裝配。該結構也避免了潛在的外泄漏風險,但由于受螺紋加工精度及長期使用螺紋失效等因素的影響,這種結構盡管在各LNG接收站普遍采用,但其潛在的失效模式不可避免。

1.閥體2.彈簧3.防火圈4.SPE閥座5.球體6、13.Lip-seal密封圈
7.密封圈8.彈簧座9.螺紋調節圈10.墊片11.閥桿12.DPE閥座
圖3 螺紋閥座上裝式固定球球閥
四、螺紋導向套結構波紋管密封上裝式固定球閥
外置調節棒、內置調節棒及螺紋閥座上裝式固定球閥的閥體和閥座之間由于采用Lip-seal密封圈,該密封圈對于配合 尺寸精度及表面粗糙度要求高,在深冷工況下有諸多不確定因素,閥門會產生內漏。波紋管密封上裝式固定球球閥(圖4)解決了上裝式結構的局限性、不可靠性以 及閥門的內漏問題。波紋管密封上裝式固定球球閥采用螺紋導向套結構。波紋管一端和閥座焊接,另一端和閥座螺紋導向套焊接。導向套的端面設有螺紋孔,閥座法 蘭上設有光孔,靠2~3個內六角螺釘調整閥座的位移,實現球體從上面裝入閥體。

1.閥體 2.螺紋導向套 3.波紋管 4.閥座 5.密封圈 6.球體
7.彈簧座 8.彈簧 9、10、14、15.墊片 11.閥桿 12.Garlock9000EVSP填料組 13.泄壓閥
圖4 螺紋導向套結構波紋管密封上裝式固定球閥
地 址:上海市金山區興塔工業區
咨詢電話:021-5736 2601
手機號碼:138 1635 7694
電子郵箱:hanyuev@163.com
網 址:http://m.cy0731.cn