從地殼上層中開采出來的石油往往含有泥沙、巖粒、金屬屑、石蠟等機械雜質。這些機械雜質隨著石油在輸油管道中運動,磨損管道及相關測量儀器的配件;同時還可能附著在管壁表面,引起管線的堵塞與腐蝕,縮短管道的壽命。因此,有效過濾油管內石油中的機械雜質,在石油開采及輸送工藝中顯得極其重要。
一、現存問題
目前,石油行業使用的管道過濾器主要有籃式過濾器、錐型過濾器、Y型過濾器、T型過濾器等。這些管道過濾器大多采用單級濾芯,只能進行單次過濾,過濾效果差,效率普遍偏低,并且增加了石油加工的實際成本。
針對上述問題,我公司設計了一種新型石油管道籃式過濾器,該裝置可進行多級有效過濾,節約了過濾成本,為石油過濾技術的相關研究提供參考。
二、新型石油管道籃式過濾器結構及工作原理
1、新型石油管道籃式過濾器結構
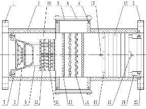
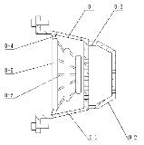
圖1為裝置結構裝配圖,圖2為結構8的裝配圖,圖3為裝置實體模型。圖1中:1-左端部連接盤;2-油管;3-右端部連接盤;4-觀察筒;5-密封墊;6-密封蓋;7-左擋圈;8-一級過濾裝置;8-1-一級錐形過濾罩;8-2-二級錐形過濾罩;8-3-外螺紋連接圈;8-4-連接片;8-5-雜物掛環;8-6-過濾連接棒;9-連接桿;10-卡圈;11-二級過濾網;12-連接頭;13-直過濾板;14-波浪形過濾板;15-右擋圈;16-不銹鋼絲過濾網;17-雙頭螺桿;18-螺母;19-伸縮筒;20-連接圈。

圖1裝置裝配圖
2、新型石油管道籃式過濾器工作原理
將左端部連接盤1和右端部連接盤3分別焊接在石油過油管的兩端,石油從左向右依次經過左端部連接盤1、油管2和右端部連接盤3。首先雜物掛環8-5和過濾連接棒8-6將石油中的大型雜物掛住,然后石油經過一級錐形過濾罩8-1和二級錐形過濾罩8-2對石油進行第一級過濾。過濾后的石油經過多個二級過濾網11進行第二級過濾,卡圈10與二級過濾網11相接觸鎖緊,避免機械雜質隨石油從二級過濾網11與卡圈10之間的空隙通過;之后石油經過直過濾板13和波浪形過濾板14進行第三級過濾;然后石油再經過不銹鋼絲過濾網16進行第四級的過濾,從而石油經過多級過濾,過濾效果顯著。

圖2結構8的裝配圖 圖3裝置實體模型
需要清理雜物時,擰開一級錐形過濾罩8-1與左擋圈7之間連接的螺栓,將一級過濾裝置8取出,擰開二級錐形過濾罩8-2,將一級過濾裝置8上的雜物進行清理。打開密封墊5和密封蓋6將直過濾板13和波浪形過濾板14過濾出的機械雜質進行清理。擰開連接圈20與油管2之間連接的螺栓,將不銹鋼絲過濾網16取出進行清理機械雜質。使得過濾殘留的機械雜質能夠取出,便于石油籃式過濾器的循環使用。
設計了一種新型石油管道籃式過濾器,通過多級濾芯的順序組合,實現了對石油中機械雜質的有效過濾。同時籃式過濾器相應附件間采用可拆卸連接,使得機械雜質易于清理,滿足籃式過濾器多次循環使用的技術要求。
地 址:上海市金山區興塔工業區
咨詢電話:021-5736 2601
手機號碼:138 1635 7694
電子郵箱:hanyuev@163.com
網 址:http://m.cy0731.cn