氨冷凍機二段出口壓力為1.5MPa的氣氨進入水冷器127-C進行冷卻,冷凝下來的39℃氨進入氨收集槽,同時氧收集槽還接收氨閃蒸槽來的0℃的冷氨,由一隔板分成冷熱兩部分,在罐底部和頂部相通。熱氨產品來自的“暖”側,熱氨經113-J升壓至3.0MPa送至尿素,少量熱氨送到氨回收系統作為氨氣提塔回流氨。工藝流程如圖1所示。

1.熱氨泵 2.泵入口過濾器
圖1 工藝流程簡圖
二期裝置熱氨產品泵113-J為SVCN 8TH(Gr.II)型單級單吸入離心泵,軸密封采用機械密封。試車期間,考慮新安裝管線鐵銹或其他異物的影響,在入口管道過濾器加裝60目/in的不銹鋼絲網進行試車,試車過程中定期檢查清洗臨時濾網,以避免堵塞,正常開車投用24h后拆除臨時濾網,采用原管道過濾器的20目/in濾網。自開車以來,該泵故障檢修頻繁,主要現象為泵入口管道過濾器堵塞導致運行過程中產生汽蝕以及機械密封泄漏。
拆檢發現過濾器堵塞嚴重,堵塞物多為鐵銹和顆粒狀雜質,機械密封密封面磨損嚴重,密封腔也有顆粒狀雜質。我公司技術人員根據經驗和仔細地排查,認為熱氨液里攜帶的顆粒雜質是合成催化劑粉塵顆粒,經泵入口管道過濾器部分沉積在濾網表面引起過濾器堵塞,而部分經過濾器進入泵體致使機械密封磨損泄漏。
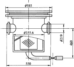
根據上述原因分析,決定利用裝置大修機會對熱氨產品泵113-J入口管道過濾器進行技改,該泵原設計使用入口過濾器為T型過濾器,若增大濾網目數會產生過濾器的頻繁堵塞,要過濾催化劑粉塵顆粒,必須考慮采用有效過濾面積更大的過濾器,因此決定選擇直通籃式過濾器,如圖2所示。籃式過濾器是除去管道液體中含有固體物的設備附件,可保護泵和其他設備及儀表等正常工作和運轉,具有結構緊湊,有效過濾面積大,壓損小,適用范圍廣,維護方便等優點。

圖2 改造后的入口過濾器
改造后投用至今未發生過濾器堵塞現象,也未發生機械密封泄漏事故,改造效果明顯。
地 址:上海市金山區興塔工業區
咨詢電話:021-5736 2601
手機號碼:138 1635 7694
電子郵箱:hanyuev@163.com
網 址:http://m.cy0731.cn