雙偏心半球閥(圖1)的半球體采用雙偏心設計,密封效果可靠,瞬間脫開,力矩小,使用壽命長。可應用在輸送顆粒類介質的苛刻工況中。其結構原理是半球體(圖2)中線與閥桿中線偏置尺寸a,與閥座中線偏置尺寸b,全開時球體與閥座完全脫開,并有一定的間隙,回轉半徑分為長半徑和短半徑,在長半徑轉動軌跡的切線會與閥座密封面形成一個θ角,在球閥啟閉時,半球相對閥座面有一個漸出脫離(如圖在開度10°時,球芯已經完全脫離)和漸入擠壓的作用,從而降低了啟閉時閥座與半球之間的機械磨損和擦傷,提高了使用壽命。

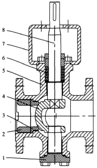
1、底蓋 2、護圈 3、閥座 4、半球體 5、閥體 6、填料 7、支架 8、軸
圖1 雙偏心半球閥

1、閥座 2、半球體
圖2 密封副
雙偏心半球閥閥座(圖3)采用浮動設計,降低加工難度,保證閥座中心線與半球體球面中心點重合,從而提高密封性能。閥座與閥體有間隙d,裝配時利用半球體定位可自動找正中線,保證閥座密封面與半球體球面全接觸,解決了因加工精度誤差造成的泄漏,提高了球閥的使用性能及壽命。
雙偏心半球閥閥座與閥體間的密封采用硬密封結構,適合高溫、高壓工況。閥座與閥體密封接觸面尺寸C值小,各自密封面精度要求高,在裝配時,護圈用電動沖擊扳手安裝,不僅是護圈與閥體嚙合,防止松動,而且是閥座摩擦轉動,符合機械振動嚙合原理,使閥座與閥體可靠密封。閥座與閥體及閥座與半球體采用兩點硬密封,因此該閥可以應用在高溫、高壓工況。
偏心半球閥整體采用模塊化設計,結構簡單,可靠性好,通用性較高。閥桿采用防噴出結構。驅動方式多樣化,閥桿、支架與執行機構的連接尺寸符合ISO5211標準,可直接與各種規范執行機構組配。常用的驅動方式有手動、氣動、液動、氣液聯動和電動等,從而提高了雙偏心半球閥運用性能。
地 址:上海市金山區興塔工業區
咨詢電話:021-5736 2601
手機號碼:138 1635 7694
電子郵箱:hanyuev@163.com
網 址:http://m.cy0731.cn