CS16H膜盒式蒸汽疏水閥產品簡介
CS16H膜盒式蒸汽疏水閥的主要動作元件是金屬膜盒,膜盒內充滿了沸點比水的飽和溫度低的熱敏感液體,當進入閥腔的介質的溫度變化引起膜盒內感溫液體氣化或冷凝時,膜盒內的膜片隨之伸縮帶動閥片作往復移位,從而啟閉蒸汽疏水閥。用汽裝置剛啟動,管道內冷凝水溫度較低時,膜盒內的液體處于冷凝狀態,閥處于開啟狀態,空氣和冷凝水可以連續排出,隨著冷凝水溫度逐漸升高,膜盒內的液體開始氣化,當膜盒內壓力上升到大于膜盒外部壓力時,膜片帶動閥片向關閉閥的方向移動,直到關閉閥孔,由于關閉閥孔的動作極其迅速,蒸汽不會泄漏,在冷凝水溫度達到飽和溫度之前,閥完全關閉,膜盒隨溫度的變化控制閥門開關,從而起到阻汽排水的作用,一旦冷凝水溫度降低,膜盒內的感溫液體蒸汽便開始放熱凝結,膜盒內的蒸汽壓力降低,當蒸汽壓力降低到小于膜盒外部的壓力時,膜片就開啟閥孔排水。該閥延遲時間短,靈敏度高,耐水擊,不易損壞,不需人工調整,工作性能可靠,工作時閥前存有高溫冷凝水,漏汽率小于1%,節能效果顯著,自動排放空氣等不凝氣體,體積小,不怕凍,安裝不受方位限制,可以水平或垂直安裝,也可以傾斜安裝,維修方便。
CS16H膜盒式蒸汽疏水閥部件材料
序號 | 部件名稱 | 材料名稱 | ||||
1 | 閥 體 | A216 WCB | A351 CF8 | A351 CF3 | A351 CF8M | A351 CF3M |
2 | 閥 蓋 | A216 WCB | A351 CF8 | A351 CF3 | A351 CF8M | A351 CF3M |
3 | 膜 盒 | A240 304 | A240 304 | A240 304L | A240 316 | A240 316L |
4 | 閥 片 | A276 430 | A276 304 | A276 304L | A276 316 | A276 316L |
5 | 閥 座 | A276 430 | A276 304 | A276 304L | A276 316 | A276 316L |
6 | 過 濾 網 | A240 304 | A240 304 | A240 304L | A240 316 | A240 316L |
7 | 螺 栓 | A193 B7 | A193 B8 | A193 B8 | A193 B8M | A193 B8M |
8 | 螺 母 | A194 2H | A194 8 | A194 8 | A194 8M | A194 8M |
CS16H膜盒式蒸汽疏水閥技術規范
公稱壓力PN(MPa) | 1.6 | 2.5 | 4.0 | 2.0 | 5.0 |
殼體試驗壓力(MPa) | 2.4 | 3.75 | 6.0 | 3.0 | 7.5 |
設計制造 | GB/T 22654-2008 蒸汽疏水閥 技術條件 | ||||
結構長度 | GB/T 12250-2005 蒸汽疏水閥 術語、標志、結構長度 | ||||
螺紋標準 | GB/T 7306.1、GB/T 7306.2、GB/T 7307、GB/T 12716、ASME B1.20.1等 | ||||
檢驗試驗 | GB/T 12251-2005 蒸汽疏水閥 試驗方法 | ||||
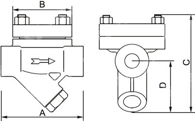
CS16H膜盒式蒸汽疏水閥外型尺寸
公稱壓力 PN | 公稱通徑 DN | 尺寸(mm) | 參考重量 KG | |||
A | B | C | D | |||
1.6 | 15 | 100 | 72 | 120 | 58 | 2.5 |
20 | 100 | 72 | 120 | 58 | 2.5 | |
25 | 120 | 72 | 120 | 58 | 2.5 | |
32 | 150 | 95 | 155 | 68 | 5.0 | |
40 | 160 | 95 | 155 | 68 | 5.0 | |
50 | 160 | 95 | 155 | 68 | 5.0 | |
CS16H膜盒式蒸汽疏水閥結構圖

如果你需訂購我廠CS16H膜盒式蒸汽疏水閥產品,咨詢時煩請說明工作壓力、工作壓差、閥體材料、內件材質、公稱通徑和公稱壓力等,本產品為螺紋連接,口徑可做到50mm,具體詳情請聯系我司銷售技術人員。
網站首頁